НазначениеУстройство предназначено для удаления лейкоцитов и получения высококачественной плазмы, необходимой для приготовления свежезамороженной плазмы и производства препаратов крови.
Обедненная лейкоцитами плазма обеспечивает предупреждение у реципиента иммунологических реакций и осложнений, снижает опасность переноса вирусных инфекций.
В трансфузиологии при заготовке компонентов крови (плазмы), обедненных лейкоцитами, в условиях станций и отделений переливания крови, а также в лечебных учреждения.
Принцип действия устройства — избирательная адгезия лейкоцитов к целлюлозным и синтетическим составляющим фильтровального материала устройства.
При переливании безлейкоцитных компонентов крови практически исключаются иммунологические и неспецифические пирогенные реакции и осложнения, болезнь «трансплантант против хозяина», резко снижается опасность переноса ряда вирусных инфекций. При удалении лейкоцитов из плазмы, предназначенной для заготовки, в ней не накапливаются продукты деградации лейкоцитов.
Специальный коннектор устройства для стерильного подсоединения, выполненный в виде полимерной иглы с защитной оболочкой, закрытой колпачком, предупреждает микробную контаминацию и обеспечивает создание закрытой замкнутой системы при присоединении к контейнеру с фильтруемой плазмой. Это гарантирует сохранение стерильности плазмы и увеличивает срок ее хранения.
Предложенная технология лейкофильтрации обеспечивает показатели эффективности по содержанию остаточных лейкоцитов в дозах плазмы 5х104, что обеспечивает максимальную защиту пациента от осложнений трансфузии, связанных с лейкоцитами.
Конструкция изделия отвечает медицинским требованиям с точки зрения его функционального предназначения и по функциональным показателям находится на уровне зарубежных аналогов, будучи при этом значительно дешевле.
Приказом министра №311 от 04.08.2000г. и №244 от 03.07.2007г. предписано внедрение в практику работы ЛПУ и учреждений Службы крови устройств такого типа. Заместителем министра здравоохранения и социального развития РФ В.И. Стародубовым 11.01.2205г. утверждена инструкция по применению безлейкоцитных компонентов консервированной крови, полученных с помощью устройства «Лейкосеп»® снабженного специальным коннектором для стерильного подсоединения к контейнеру с фильтруемой средой, создающим закрытую замкнутую систему фильтрования.
На технические решения, используемые в конструкции устройства «ЛЕЙКОСЕП»®-Пл» получены патенты: №2173369, №2173743, №2285543, №2290956, №2290957, №2290958, №254430.
РУКОВОДСТВО ПО ЭКСПЛУАТАЦИИ
«Устройство для удаления лейкоцитов из двух доз плазмы однократного применения «Лейкосеп» ®- Пл»
ТУ 9393-066-17121966-2007
НАЗНАЧЕНИЕ
Устройство предназначено для удаления лейкоцитов из двух доз плазмы и получения высококачественной плазмы, необходимой для приготовления свежезамороженной плазмы и производства препаратов крови.
Обедненная лейкоцитами плазма обеспечивает предупреждение у реципиента иммуногематологических реакций и осложнений, снижает опасность переноса вирусных инфекций.
Устройство применяют на СПК и ОПК лечебных учреждений.
Устройство создает закрытую замкнутую систему фильтрования при присоединении его к контейнерам с плазмой от одного донора за счет специальных коннекторов для стерильного подсоединения, что обеспечивает сохранение стерильности фильтруемой среды.*
ВНИМАНИЕ!
- Срок хранения плазмы до фильтрации не должен превышать 48 ч.
- Для приготовления свежезамороженной плазмы, ее лейкофильтрацию следует проводить не позднее 4-6 часов после заготовки крови.
- Процесс фильтрации каждой дозы плазмы должен продолжаться не менее 2-х минут, так как чрезмерная скорость прохождения плазмы через фильтр не способствует ее эффективной лейкодеплеции.

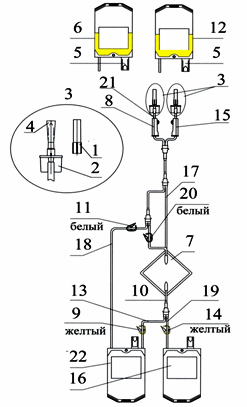
1. Проверьте срок годности устройства и пригодность фильтруемой плазмы.
2. Извлеките устройство из упаковки. Закройте все зажимы.
3. Снимите колпачок 1 с иглы одноканальной 2 коннектора для стерильного подсоединения 3, при этом защитная оболочка 4 должна оставаться на игле 2. Вскройте оболочку штуцера 5 контейнера с плазмой 6 и вращательным движением введите иглу 2 с оболочкой 4 до упора, проколов мембрану штуцера
4. Снимите колпачок 1 со второй одноканальной иглы 2 коннектора для стерильного подсоединения, при этом защитная оболочка 4 должна оставаться на игле 2. Вскройте оболочку штуцера 5 контейнера с плазмой 12 и вращательным движением введите иглу 2 с оболочкой до упора.
5. Повесьте контейнер 6 с фильтруемой плазмой на высоту не более 0,7 м от горизонтальной поверхности.
6. Контейнер 12 следует перевернуть штуцером вверх и расположить на 0,2 м ниже контейнера 6. Для вытеснения воздуха из подводящих трубок в контейнер 12 необходимо открыть зажимы 8 и 15. После вытеснения зажим 15 закрыть, контейнер 12 повесить на одной высоте с контейнером 6.
7. Для вытеснения воздуха из узла фильтрации 7 расположите его вертикально выходом вверх и откройте желтый зажим 14.
Под действием силы тяжести происходит заполнение узла фильтрации 7. При появлении плазмы в трубке 10 верните узел фильтрации в исходное положение. Процесс фильтрации плазмы продолжается до тех пор, пока не профильтруется весь ее объем из контейнера 6. Закройте роликовый зажим 8.
8. Для вытеснения воздуха из контейнера 16 расположите его в плазмоэкстракторе и откройте желтый зажим 9. С помощью плазмоэкстрактора аккуратно надавите на контейнер 16 с отфильтрованной плазмой, не допуская попадания плазмы в трубку 19, переведите воздух в контейнер 22, закройте зажим 14.
9. При фильтрации второй дозы плазмы откройте роликовый зажим 15. Процесс фильтрации продолжается до тех пор, пока не профильтруется весь ее объем из контейнера 12. По окончании фильтрации закройте желтый зажим 9 и роликовый зажим 15.
10. Для вытеснения воздуха из контейнера 22 расположите его в плазмоэкстракторе, откройте белый зажим 11 и роликовый зажим 8. С помощью плазмоэкстрактора аккуратно надавите на контейнер 22 с отфильтрованной плазмой, не допуская попадания плазмы в трубку 18, переведите воздух в контейнер 6, закройте зажим 11.
11. Откройте желтый зажим 9 и белый 20, предварительно вынув контейнер 22 из плазмоэкстрактора, и соберите остатки плазмы из трубок и узла фильтрации в контейнер 22. Закройте зажим 9.
12. Загерметизируйте трубки 13, 18, 19 и отрежьте выше места герметизации.
13. Контейнеры с плазмой этикетируйте как «Плазму свежезамороженную фильтрованную» и храните при установленной температуре.
*Заместителем министра здравоохранения и социального развития РФ В.И. Стародубовым 11.01.2005г. утверждена инструкция по применению безлейкоцитных компонентов консервированной крови, полученных с помощью устройства «Лейкосеп»®, снабженного специальным коннектором для стерильного подсоединения к контейнеру с фильтруемой средой, создающим закрытую замкнутую систему фильтрования.
**Допускается в контейнерах 22 и 16 устройства наличие одного или двух штуцеров.